<p id="2PfacZh"><th id="2PfacZh"></th></p>
        1. <fieldset></fieldset>
          <td id="2PfacZh"><dir id="2PfacZh"></dir></td>

                  plug torque test device of iec60065 figure 11

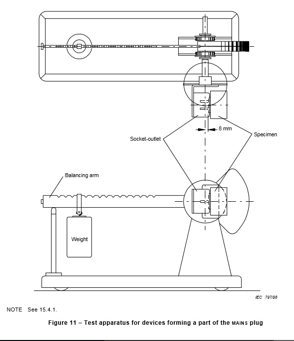
                  Product Description:Name:plug torque test device of iec60065 figure 11Type:BND-CTLJStandards:BS1363.3,IEC60884,VDE0620,IEC60598,IEC60065 fig11ApplicationSocket-outlet Torque Balance Tester is used for test the torque strain exerted by the inputsocket-outlet and the devices with plug pins on output socketoutlets.The balancing arm of the test center lines of the contact tubes of the
                  Description

                  Product Description:

                  Name:plug torque test device of iec60065 figure 11

                  Type:BND-CTLJ

                  Standards:BS1363.3,IEC60884,VDE0620,IEC60598,IEC60065 fig11


                  Application

                  Socket-outlet Torque Balance Tester is used for test the torque strain exerted by the input

                  socket-outlet and the devices with plug pins on output socketoutlets.

                  The balancing arm of the test center lines of the contact tubes of the

                  socket-outlet at a distance of 8 mm behind the engagement face of the socket-outlet.

                  With the engagement,the balancing arm is in equilibrium, the engagement face of the

                  socket-outlet being in the vertical position.

                  After the device has been engaged,the torque to be applied to the socket-outlet to maintain its engagement face in the vertical plane is determined by the position of a weight on the balance arm.

                  Due to the different standards of different countries,the device are contained three socket clamps,If the needed clamps are more than 3 ,on request.

                  In addition ,it includes a 5N weight and a 1N weight


                  Type:

                  weight

                  2.5N*1, 1N*1

                  Plug

                  UL plug*1, European plug*1,all-purpose plug*1

                  Conforms to standard

                  IEC60884,VDE0620,IEC60598,IEC60065Fig11

                  Arm of force

                  0-200mm

                  The distance from the contact surface and the Axis of the surface

                  8mm


                  2.jpg

                  1.jpg

                  3.jpg


                  ChFfk
                  <p id="2PfacZh"><th id="2PfacZh"></th></p>
                      1. <fieldset></fieldset>
                        <td id="2PfacZh"><dir id="2PfacZh"></dir></td>